知识资讯  > 知识学习

公司资讯 行业资讯 知识学习
2024优惠活动:迷你版1880元,KIS软件5折,金蝶云6折起!

精斗云云进销存订单合并出入库操作指南

售后技术专线:4006-6500-28

新购有特价、金蝶老客户升级金蝶云产品可以享受5折优惠,送手机、送话费,好礼不断!

1、应用场景


2、主要操作

2.1 销售单据支持订单合并

1) 销货单增加选择订单功能,支持选择多单合并出库或部分商品出库

点击【选择订单】,默认按单据显示,选择需要合并出库的单据

多张订单的商品合并带出,支持删除部分商品分批出库,大大提升效率

支持多种不同条件筛选,购物车模式选择订单和商品,简单又高效


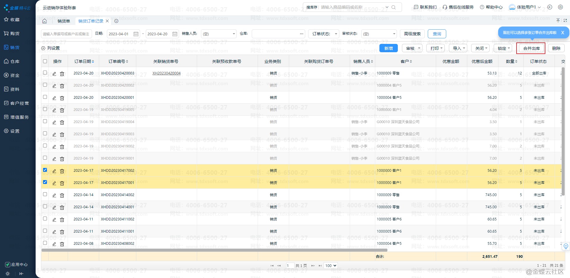
2)销货订单记录增加合并出库功能,支持选择多张订单一起出库

选择相同客户的销货订单,点击【合并出库】

多张销货订单,关联了同一张出库单


2.2 采购单据支持订单合并

1)购货单增加选择订单功能,支持选择多单合并入库或者部分商品入库

点击【选择订单】,默认按单据显示,选择需要合并入库的单据

与销货单逻辑一样,支持多张订单合并,支持删除部分商品分批入库


2)购货订单记录增加合并入库功能,支持选择多张订单一起入库

X金蝶软件公司_金蝶软件技术服务公司

截屏,微信识别二维码

客服QQ:1250556403

(点击QQ号复制,添加好友)

微信号已复制,请打开微信添加咨询详情!