云会计金蝶收支汇总表如何查询数据
服务热线:400-665-0027
新购有特价、金蝶老客户升级金蝶云产品可以享受5折优惠,送手机、送话费,好礼不断!
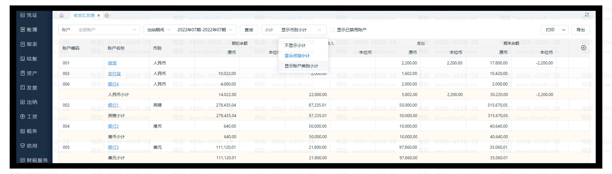
收支汇总表,反应了各个账户的期初余额、收入、支出、期末余额。
一、可以按期间查询,也可按日期查询
二、可以按币别小计、也可以按账户类别小计

400-665-0027
收支汇总表,反应了各个账户的期初余额、收入、支出、期末余额。
一、可以按期间查询,也可按日期查询
二、可以按币别小计、也可以按账户类别小计