在实际做账过程中,偶尔会遇到不相等的情况,主要情况有以下4种
公式不正确,首先排查一下报表公式,每个报表项目取的科目是否正确,资产=负债+所有者权益,报表是否平衡,如果错了会影响勾稽关系
如果是刚建账,检查一下财务初始金额,有没有填错,比如23年7月建账,这里要填1-6月损益发生额,利润表本年累计数会取它,错误的期初数会影响勾稽关系
有没有做过提取盈余公积的会计分录或者未分配利润的凭证
平时核对报表之间的勾稽关系时,会用到一个基本公式:
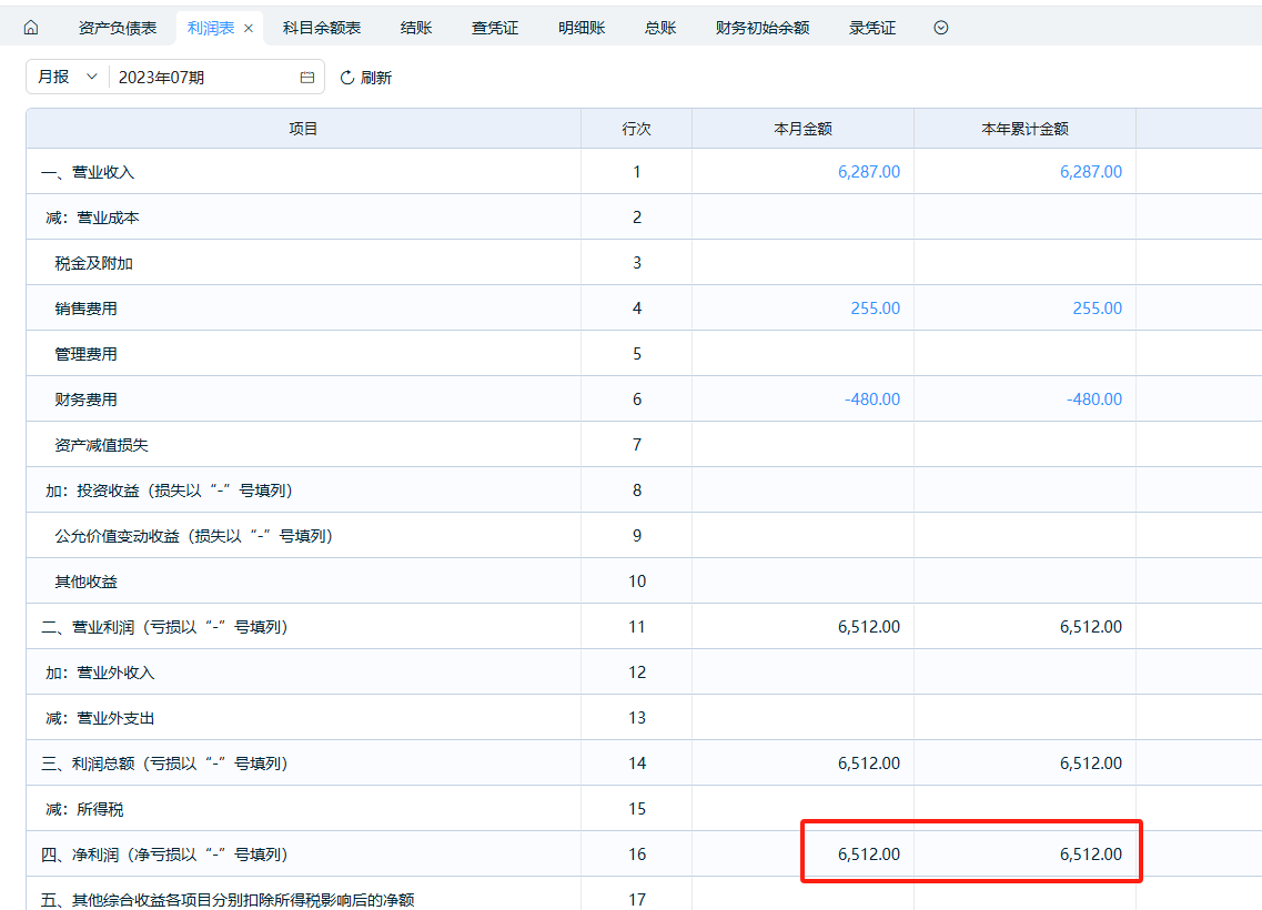
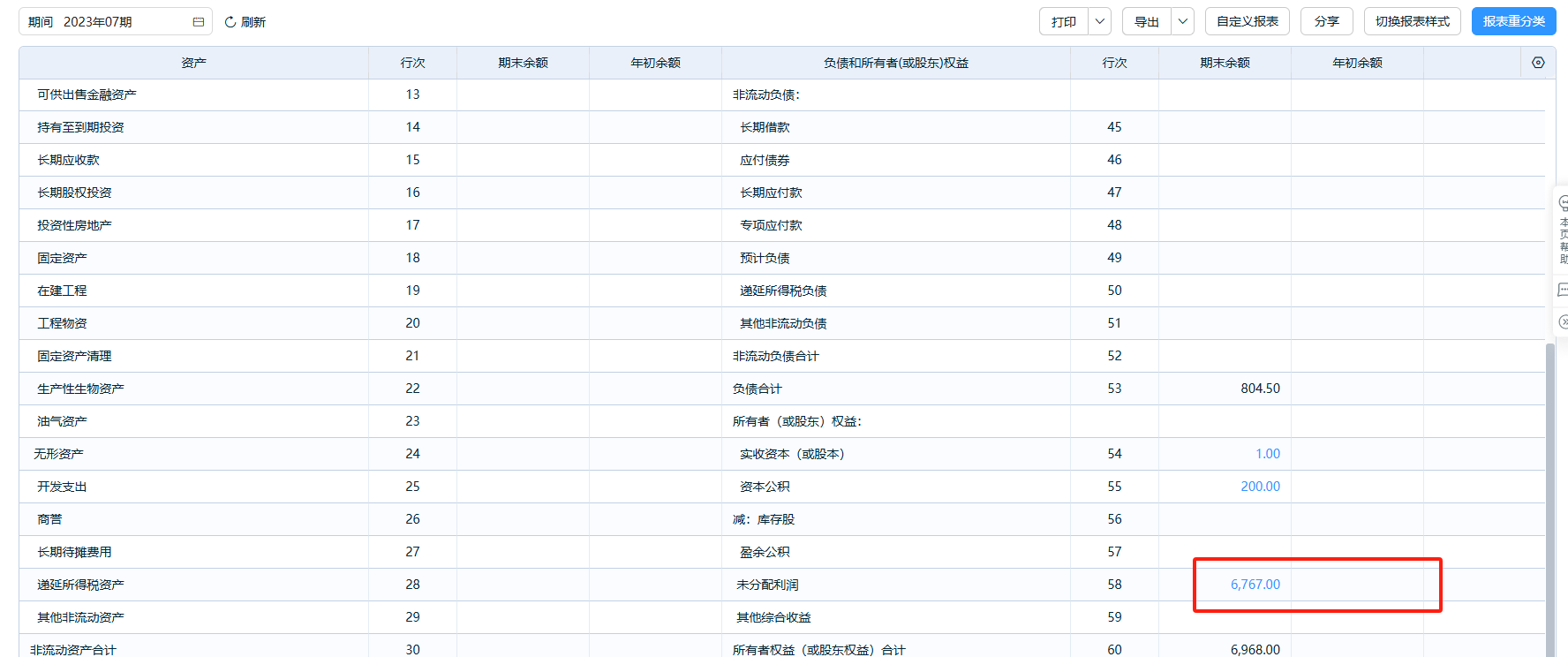
资产负债表未分配利润期末数=未分配利润期初数+利润表净利润本年累计
其实这个公式还有个进阶版:
资产负债表未分配利润期末数=未分配利润期初数+利润表净利润本年累计+(-)以前年度损益调整-分配的利润-提取的盈余公积
资产负债表未分配利润期末数-资产负债表未分配利润期初数=利润表净利润本年累计+(-)以前年度损益调整-分配的利润-提取的盈余公积
1-2是比较常见的,做账时由于自身原因:报表公式有改动,期初数没填正确才会导致报表勾稽关系不平,可以排查问题,处理后就一致了
重点分析3-4
假设之前年度有一笔费用忘记入账,本年补上,借贷记账法下,费用增加,以前年度损益调整减少,之前的资产负债表未分配利润期末数=未分配利润期初数+利润表净利润本年累计就不适用了
简单概括一下就是:
常见场景下,结转损益会将损益科目的余额转入本年利润科目,所以净利润其实就是本年利润的科目余额,利润表净利润和资产负债表能勾稽上的
但是以前年度损益调整比较特殊,它不是本年的利润,是直接转入未分配利润的,所以账务处理不经过本年利润科目
资产负债表的未分配利润是取本年利润+利润分配科目余额,未分配利润科目余额变化和利润表的本年利润表的净利润不产生直接关系,所以才会产生差额,根据上面的进阶公式,报表核对就不一致,但是通过计算,+(-)以前年度损益调整能对得上
另外,提取盈余公积类似,即利润分配提取盈余公积,影响了报表项目未分配利润的余额,但是由于它们不是损益科目,不需要结转损益,也不经过本年利润,因此利润表不会变化,这个差额在减掉提取的盈余公积后是能对得上的
同样的还有提取应付利润等情况,总之,涉及利润分配增加和减少的会计分录,都会影响资产负债表未分配利润的变化,但由于这些业务不需要经过本年利润结转损益,所以利润表的净利润都是没有变化的

