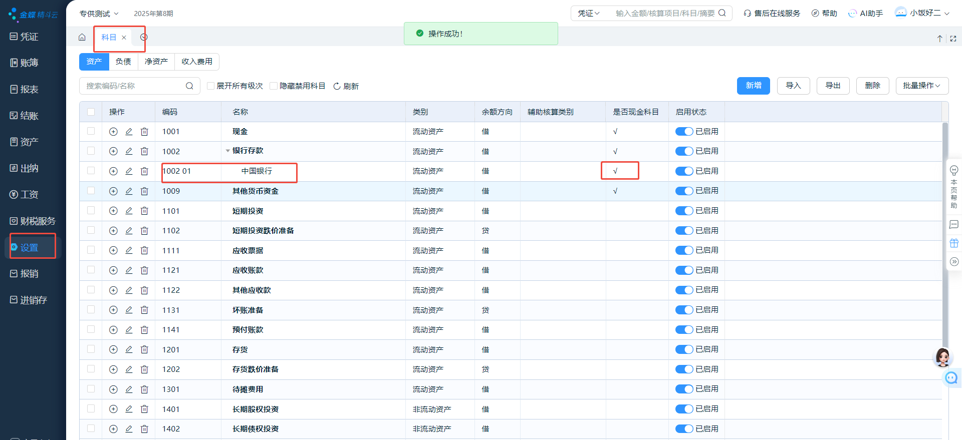
云会计金蝶查询明细账勾选了显示现金银行存款的对方科目,但是明细表并没有显示对方科目是什么原因
服务热线:400-665-0027
新购有特价、金蝶老客户升级金蝶云产品可以享受5折优惠,送手机、送话费,好礼不断!
查询明细账界面有勾选显示现金银行存款科目,查询的就是银行存款科目的明细账,但是没有显示对方科目
去科目设置检查下是否现金科目勾选上没有,没有勾选的话是不能识别成现金银行科目的,所以对应的对方科目也是不能看到的,勾选上再去查询即可。

