云进销存盘点表如何导出?(导出系统库存)
服务热线:400-665-0027
新购有特价、金蝶老客户升级金蝶云产品可以享受5折优惠,送手机、送话费,好礼不断!
【问题描述】
盘点表如何导出?(导出系统库存)
盘点记录如何导出?
【操作流程】
1、导出盘点表(导出系统库存)
仅导出系统库存为EXCLE文件格式,盘点库存栏为空;导出至本地后,在EXCEL文件手工录入盘点为存后,再导入盘点库存。
打开【仓库】-【盘点】,按实际业务情况筛选查询盘点表,然后再点击右上角【导出系统库存】导出系统库存。
导出结果:
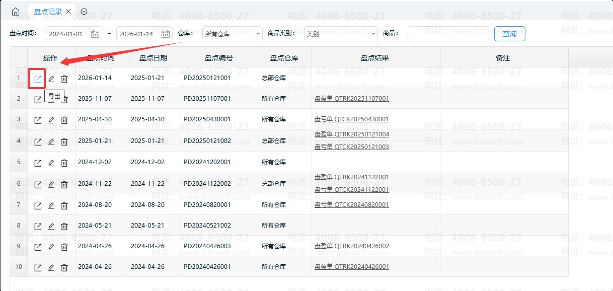
2、导出盘点记录
已在系统中录入盘点库存并生成盘点记录,需导出带有盘点库存数的盘点表。
①打开【仓库】-【盘点】,已在“盘点库存”中录入盘点数量,并【保存盘点结果】生成盘点记录,可点击右上角【导出系统库存】导出。
②或是打开【仓库】-【盘点记录】,点击下载按钮,直接下载盘点记录。
导出结果:

