知识资讯  > 知识学习

公司资讯 行业资讯 知识学习
2024优惠活动:迷你版1880元,KIS软件5折,金蝶云6折起!

V6.0账无忧有多个凭证字生成的凭证怎么修改凭证字的排序

售后技术专线:4006-6500-28

新购有特价、金蝶老客户升级金蝶云产品可以享受5折优惠,送手机、送话费,好礼不断!

【问题描述】

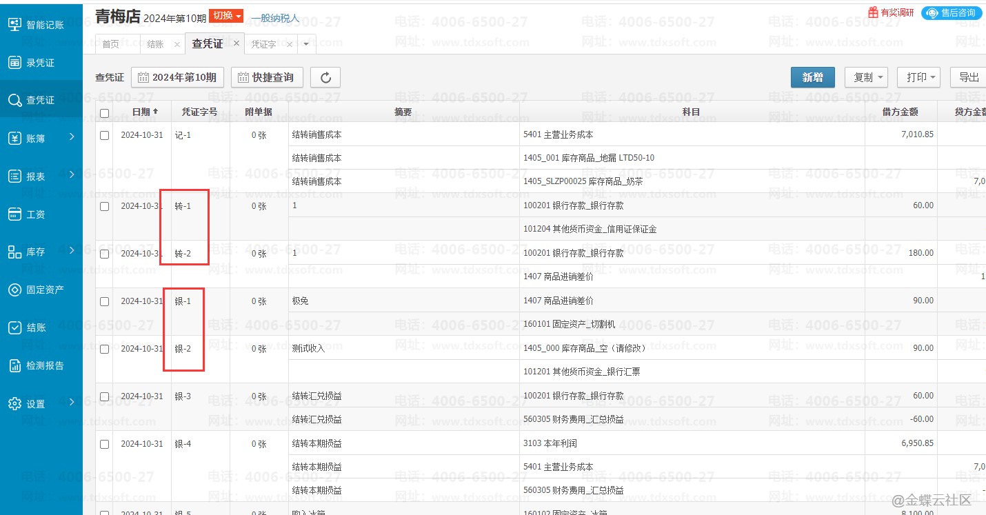
如有多个凭证字号,凭证界面显示的顺序是记字,转字,银字凭证,想将银字凭证调整到转字凭证之前应该怎么调节?


【操作步骤】

点击【设置】→【凭证字】,在界面可以看到凭证字的排序,通过操作上移或下移箭头可以调整凭证字的排序,调整完成后返回查凭证界面刷新界面,查凭证界面的凭证字号排序会按照凭证字界面的排序调整。


X金蝶软件公司_金蝶软件技术服务公司

截屏,微信识别二维码

客服QQ:1250556403

(点击QQ号复制,添加好友)

微信号已复制,请打开微信添加咨询详情!